○美唄市道路の構造の技術的基準等を定める条例施行規則
| (平成25年3月21日規則第9号) |
|
|
(趣旨)
第1条 この規則は、美唄市道路の構造の技術的基準等を定める条例(平成25年条例第10号。以下「条例」という。)の施行に関し必要な事項を定めるものとする。
(定義)
第2条 この規則において使用する用語は、道路法(昭和27年法律第180号)、道路構造令(昭和45年政令第320号)、車道及び側帯の舗装の構造の基準に関する省令(平成13年国土交通省令第103号)及び条例において使用する用語の例による。
(車線により構成されない車道の部分)
第3条 条例第5条第1項の規則で定める部分は、次のとおりとする。
[条例第5条第1項]
(1) 交差点
(2) 車両の通行の用に供するため分離帯が切断された車道の部分
(3) 乗合自動車停車所
(4) 付加追越車線、屈折車線、変速車線及び登坂車線のすりつけ区間
(5) 車線の数が増加し、若しくは減少する場合又は道路が接続する場合におけるすりつけ区間
(車道及び側帯の舗装の構造の基準)
第4条 条例第26条第2項の規則で定める基準は、次条から第7条までに定めるところによるものとし、自動車の安全かつ円滑な交通を確保するため、雨水を道路の路面下に円滑に浸透させることができる構造とする必要がある場合においては、これらの規定に定めるところによるほか、第8条に定めるところによる。
(疲労破壊輪数)
第5条 疲労破壊輪数は、舗装計画交通量に応じ、次の表の右欄に掲げる値以上とするものとする。
| 舗装計画交通量(単位1日につき台) | 疲労破壊輪数(単位10年につき回) |
| 3,000以上 | 35,000,000 |
| 1,000以上3,000未満 | 7,000,000 |
| 250以上1,000未満 | 1,000,000 |
| 100以上250未満 | 150,000 |
| 100未満 | 30,000 |
2 前項の疲労破壊輪数の測定は、実地に行うものとする。ただし、当該舗装道の区間の舗装と舗装構成が同一である舗装の供試体を作成した場合には、当該供試体について測定することをもって、実地に行う測定に代えることができる。
3 当該舗装道の区間と舗装構成が同一である他の舗装道の区間の舗装が第1項の基準に適合することが明らかである場合は、当該舗装道の区間の舗装についても同項の基準に適合するものとみなす。
(塑性変形輪数)
第6条 塑性変形輪数は、道路の区分及び舗装計画交通量に応じ、次の表の右欄に掲げる値以上とするものとする。
| 区分 | 舗装計画交通量(単位1日につき台) | 塑性変形輪数(単位1ミリメートルにつき回) |
| 第3種第2級及び第4種第1級 | 3,000以上 | 3,000 |
| 3,000未満 | 1,500 | |
| その他 | 500 |
2 前項の塑性変形輪数の測定は、実地に行うものとする。ただし、当該舗装道の区間の舗装と表層の厚さ及び材質が同一である舗装の供試体を作成した場合には、当該供試体について測定することをもって、実地に行う測定に代えることができる。
3 当該舗装道の区間の舗装と表層の厚さ及び材質が同一である他の舗装道の区間の舗装が第1項の基準に適合することが明らかである場合は、当該舗装道の区間の舗装についても同項の基準に適合するものとみなす。
(平たん性)
第7条 平たん性は、2.4ミリメートル以下とするものとする。
2 前項の平たん性の測定は、実地に行うものとする。
(浸透水量)
第8条 浸透水量は、道路の区分に応じ、次の表の右欄に掲げる値以上とするものとする。
| 区分 | 浸透水量(単位15秒につきミリリットル) |
| 第3種第2級及び第4種第1級 | 1,000 |
| その他 | 300 |
2 前項の浸透水量の測定は、実地に行うものとする。
(交通安全施設)
第9条 条例第34条の規則で定める施設は、次のとおりとする。
[条例第34条]
(1) 駒止
(2) 道路標識
(3) 道路情報管理施設(緊急連絡施設を除く。)
(4) 他の車両又は歩行者を確認するための鏡
(自動車駐車場等に類する施設)
第10条 条例第37条の規則で定める施設は、次のとおりとする。
[条例第37条]
(1) チェーン着脱場
(2) 休憩施設
(3) 緊急避難所
(防雪施設)
第11条 条例第38条第1項の規則で定める施設は、次のとおりとする。
(1) 吹きだまり防止施設
(2) 雪崩防止施設
(橋、高架の道路等)
第12条 橋、高架の道路その他これらに類する構造の道路(以下この条においえ「橋等」という。)の構造(道路法第30条第1項第12号に掲げる事項に係る部分を除く。)は、当該橋等の構造形式及び交通の状況並びに当該橋等の存する地域の地形、地質、気象その他の状況を勘案し、死荷重、活荷重、風荷重、地震荷重その他の当該橋等に作用する荷重及びこれらの荷重の組合せに対して十分安全なものでなければならない。
(道路標識の寸法)
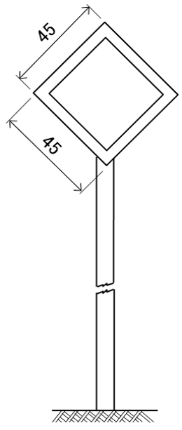
第13条 条例第45条の規則で定める道路標識の寸法は、別表のとおりとする。
附 則
この規則は、平成25年4月1日から施行する。
別表(第13条関係)
| 案内標識 | ||
| 待避所
(116の3) | 駐車場
(117-A) | 登坂車線
(117の2-A) |
![]() | ![]() | ![]() |
| 総重量限度緩和指定道路
(118の3-A) | 総重量限度緩和指定道路
(118の3-B) | 高さ限度緩和指定道路
(118の4-A) |
![]() | ![]() | ![]() |
| 高さ限度緩和指定道路
(118の4-B) | 道路の通称名
(119-A) | 道路の通称名
(119-B) |
![]() | ![]() | ![]() |
| 道路の通称名
(119-C) | まわり道
(120-A) | |
![]() | ![]() | |
| 警戒標識 | ||
| 本標識の規格 | + 形道路交差点あり
(201-A) | 右(又は左)方屈曲あり
(202) |
![]() | ![]() | ![]() |
| 信号機あり
(208の2) | 落石のおそれあり
(209の2) |
|
![]() | ![]() |
|
| 路面凹凸あり
(209の3) | 合流交通あり
(210) | 幅員減少
(212) |
![]() | ![]() | ![]() |
| 二方向交通
(212の2) | ||
![]() | ||
| 補助標識 | ||
| 補助標識板の規格 | 注意事項
(510) | |
![]() | ![]() | |
備考
1 本標識板(本標識の標示板をいう。)
(1) 寸法
ア 寸法が図示されているものについては、図示の寸法(その単位はセンチメートルとする。以下同じ。)を基準とする。
イ 道路に設置する「駐車場」を表示する案内標識については、便所を表す記号を標示する場合にあっては、図示の横寸法を図示の寸法の2.5倍まで拡大することができる。
ウ 道路に設置する「駐車場」、「総重量限度緩和指定道路」、「高さ限度緩和指定道路(118の4-A・B) 」及び「まわり道(120-A) 」を表示する案内標識並びに警戒標識については、道路の形状又は交通の状況により特別の必要がある場合にあっては、図示の寸法(イに規定するところにより図示の横寸法を拡大する場合にあっては、当該拡大後の図示の寸法)の1.3倍、1.6倍又は2倍に、それぞれ拡大することができる。
エ 道路に設置する「登坂車線」及び「道路の通称名」を表示する案内標識については、道路の形状又は交通の状況により特別の必要がある場合にあっては、図示の寸法の1.5倍又は2倍に、それぞれ拡大することができる。
オ 道路に設置する「道路の通称名」を表示する案内標識については、表示する文字の字数により図示の横寸法(「道路の通称名(119-C)」を表示するものについては、縦寸法)を拡大することができる。
(2) 文字等の大きさ
ア 寸法が図示されている文字及び記号の大きさは、図示の寸法を基準とする。
イ 道路に設置する案内標識で、「方面、方向及び道路の通称名の予告」、「方面、方向及び道路の通称名」、「著名地点の標示(114-B)」、「待避所」、「駐車場」、「登坂車線」、「総重量限度緩和指定道路」、「高さ限度緩和指定道路(118の4-A・B)」、「道路の通称名」及び「まわり道」を表示するもの以外のものの文字の大きさは、道路の設計速度に応じ、次の表の右欄に掲げる値(ローマ字にあっては、その2分の1の値)を基準とする。ただし、必要がある場合にあっては、これを1.5倍、2倍又は3倍に、それぞれ拡大することができる。
| 設計速度(単位キロメートル毎時) | 文字の大きさ(単位センチメートル) |
| 40、50又は60 | 20 |
| 30以下 | 10 |
ウ 「方面、方向及び道路の通称名の予告」及び「方面、方向及び道路の通称名」を表示する案内標識については、矢印外の文字の大きさは、イの規定によるものとし、矢印中の文字の大きさは、矢印外の文字の大きさの0.6倍の大きさとする。
エ 「著名地点(114-B)」を表示する案内標識の文字の大きさは、10センチメートルを標準とする。
オ 「市町村」、「方面、方向及び距離」、「方面及び距離」、「方面及び方向の予告」、「方面及び方向」、「方面、方向及び道路の通称名の予告」、「方面、方向及び道路の通称名」及び「著名地点」を表示する案内標識に、それぞれ市町村章及び公共施設等の形状等を表す記号を表示する場合の当該記号の大きさは、日本字の大きさの1.7倍以下の大きさとする。
カ 道路に設置する「駐車場」を表示する案内標識に便所を表す記号を表示する場合の当該記号の大きさは、駐車場を表示する記号の0.7倍以下の大きさとする。
キ 縁、縁線及び区分線の太さは、次の寸法を基準とする。
(ア) 案内標識 縁は、道路に設置するもので、「待避所」、「駐車場」及び「まわり道(20-B)」を表示するものについては9ミリメートル、「総重量限度緩和指定道路(118の3-A・B)」及び「高さ限度緩和指定道路(118の4-A・B)」を表示するものについては16ミリメートル、「登坂車線」を表示するものについては10ミリメートル、「道路の通称名」を表示するものについては8ミリメートル、その他のものについては日本字の大きさの20分の1以上の太さとし、縁線及び区分線は、日本字の大きさの20分の1以上の太さとする。
(イ) 警戒標識 縁及び縁線は、12ミリメートルとする。
2 補助標識板(補助標識の標示板をいう。)
(1) 図示の寸法を基準とする。
(2) 補助標識は、その附置される本標識板の拡大率又は縮小率と同じ比率で拡大し、又は縮小することができる。





















